广谈大湾网

广谈大湾网 首页 资讯 国内外资讯 查看内容

破产清算!昔日“顶流”跌落神坛,曾年营业额近2亿,日产15万包 ...

2026-4-29 15:52| 发布者: 如风

摘要: 引言又一网红品牌,被申请破产清算。最近食品圈又出了一件大事。曾经风光无限的柳州出海标杆——螺状元,还是没能挺过去,正式走到了破产清算这一步。就在4月8日,广西柳州市中级人民法院发了公告,正式裁定受理广西 ...

又一网红品牌,被申请破产清算。

最近食品圈又出了一件大事。

曾经风光无限的柳州出海标杆——螺状元,还是没能挺过去,正式走到了破产清算这一步。

就在4月8日,广西柳州市中级人民法院发了公告,正式裁定受理广西螺状元食品科技股份有限公司的破产清算案。

图源: 全国企业破产重整案件信息网

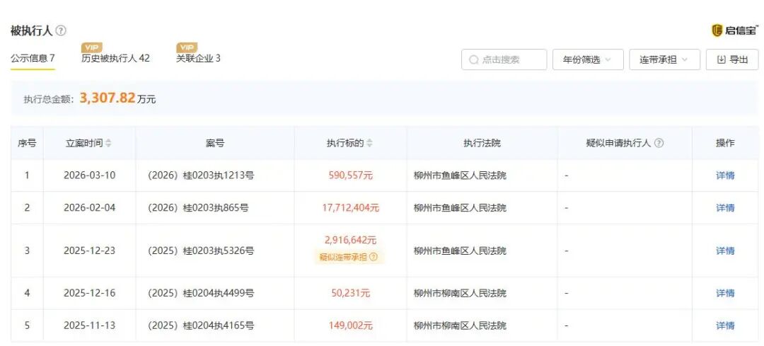
3300万元的被执行金额和创始人身上的十几条“限高令”,都为这个曾在螺蛳粉出海赛道上拔得头筹的“柳州之光”写下了残酷的终章。

图源:启信宝

真可谓,眼看他起高楼,眼看他楼塌了。

第一个走出国门的

螺蛳粉品牌

回顾螺状元的崛起,其很大程度上是踩中了直播和电商的东风,而疫情更是催化了这一品类的快速发展。

创始人刘清石,广西人,是一位创业老炮了,按他自己的话说,当时他和团队在创业路上一直碰壁,但是不愿意就此散伙,于是商量如何从柳州的特色做起。

图源:螺状元公众号

当时的他还不知道什么是“柳州特色”,直到2012年,他发现螺蛳粉竟然走出了柳州开到了北京,再加上当时央视《舌尖上的中国》也把镜头对准了柳州的传统美食——酸笋。

于是,刘清石就扎进了螺蛳粉这个赛道里。

万事开头难。但认真了,很多问题似乎迎刃而解了。当时刘清石团队不足20人。

“2013年,我们做了大量的市场调研,发现已经有人在生产袋装螺蛳粉了,但是没发现有一家工厂,更没有规模生产。这让我更坚定了做一碗粉的决心。”

图源:螺状元公众号

当时的刘清石,意气风发,野心十足。

于是,2014年10月,“螺状元”商标正式注册。

作为柳州最早一批进行预包装探索的螺蛳粉企业,螺状元攻克了一个又一个的难题,从米粉的长度到保质期的长短,刘清石一直致力于将螺蛳粉“工业化”。

图源:螺状元公众号

对他来说,要想在市场上走得远,螺蛳粉的预包装很重要。

2014年袋装螺蛳粉保质期短一直是掣肘行业发展的痛点。刘清石团队投入60万元科研经费与四川大学联合研发,将物理杀菌法运用到生产中。

经过反复多次实验发现,在数十袋辅料中最容易氧化的是酸笋。在用了7吨酸笋,花了3个月时间后,刘清石团队把保质期做到180天。

“我们是行业第一家将保质期延长的品牌,为走向更远更广阔的市场铺平了道路。”刘清石表示。

图源:央视新闻

确实如他所说,螺状元在之后几年稳扎稳打,团队从当初不到20人的小团队,发展壮大成300余名员工的企业,企业也实现了85%以上的自动化设备生产。

图源:网络

2017年,是螺状元的高光时期。

这一年的元月,螺状元成为首家出口美国的柳州螺蛳粉企业,首批5万包出口螺蛳粉在美售罄。

图源:螺状元公众号

在品牌的官方公众号里,也得意地宣称这一年业绩喜人,2017年卖出的螺蛳粉可以绕地球一圈。

图源:螺状元公众号

不仅如此,螺状元还将螺蛳粉实体店开到了纽约,让柳州螺蛳粉从“超市小吃”走向“精品试吃”。

图源:网络

2020年,疫情期间催生了消费者对速食方便食品、预制菜的庞大需求。

螺蛳粉“酸爽、香臭”的口味特点自带话题属性,2020年 #柳州螺蛳粉# 的相关微博热搜超过30条,社交平台上动辄过亿的话题播放量,让螺蛳粉“臭名远扬”,成为年轻消费者跃跃欲试的网红爆品。

图源:抖音

在巨大的流量推动下,预包装螺蛳粉迎来爆发式增长,螺状元也在这波热潮中吃到了一口肉。

截至2020年,螺状元厂区共有1.1万平方米厂房,日产15万包,年营业额近2亿,利税1700余万元。

图源:螺状元公众号

并先后荣获“2021年自治区农业产业化重点龙头企业”“广西壮族自治区2021年认定的第三批高新技术企业”等荣誉称号。

一切看起来都那么完美,前途一片光明。

然而,商业世界最残酷的地方在于,最高光的时刻,往往隐藏着最深的危机。


曾经的出海标杆

被“新秀”后来居上

随着螺蛳粉的名声大噪,柳州当地也趁势持续推动螺蛳粉全产业链布局,让它成为柳州的一个代名词。

2021年6月,柳州市委常委会向全市吹响冲锋号:到2025年,柳州市螺蛳粉全产业链要力争实现销售收入900亿元。

图源:网络

“900亿元不是梦想!”谈起螺蛳粉的产业目标,刘清石颇有底气,“螺状元的新产业园建成后,依托各大商超平台及网销平台线上线下销售齐头并进,与各大院校合作实现产学研一体化,一定会迎来大发展。”

图源:央视新闻

只是他没想到的是,时代变了。

这股嗦粉热潮,也让各方品牌嗅得了商机,纷纷加入此赛道抢占市场,品牌大战日益激烈。

赛道变得拥挤了,竞争也变大了,不仅是线下涌现了一批餐饮连锁品牌,而且在线上更是“神仙打架”。

靠着营销的线上爆品驱动,好欢螺、螺霸王、李子柒等成为了螺蛳粉赛道里当之无愧的网红品牌。

图源:网络

根据鲸参谋在2022年发布的数据显示,在袋装螺蛳粉品类中,好欢螺、李子柒和螺霸王三大品牌销量市占比均超过12%,销额市占比超过15%。

其中,作为垂直领域里的老大,好欢螺更是长期保持着霸主地位。另据电商数据搜索工具弦镜数据披露,2023年1月,好欢螺在抖音的销售额超过2200万元。

而这一份名单里,早已看不到螺状元的名字了。

不是螺状元不行,而是消费者太多选择了,螺状元缺少了让人“非它不可”的理由。

图源:网络

更何况,竞争对手变多了,企业也开始了“老传统”商战——打价格战,老品牌为了生存不得不加入价格战。

但是对于螺状元来说,其前期斥巨资投入的自动化设备,无疑是一项重资产负担,当价格战导致利润挤压,这种高标准自动化的生产线,也瞬间转化为运营压力和持续的财务负担,吞噬掉企业的现金流。

因此,从2025年下半年开始,螺状元的财务情况就开始恶化公司多次被列为被执行人,执行标的从数万元至上千万元不等。

税务方面,公司在2026年1月新增了多项欠税公告,其中包括房产税、城镇土地使用税等多种税种。

图源:天眼查

曾经那位意气风发、喊着要把柳州螺蛳粉推广到全国,甚至全世界的小伙,如今变成了人人追债的“老赖”,不禁让人唏嘘。

尽管目前螺状元的店铺还在正常运营,但是这种表面平静的日子,还能维持多久?


竞争对手加速奔跑

电商赋能产业腾飞

而反观螺状元的竞争对手,和其同一批将螺蛳粉搬进标准工厂的合味芳螺蛳粉品牌,早已借助了电商平台的东风,带领柳州螺蛳粉加速奔向更广阔的市场。

合味芳创始人邱洪毅表示,“除了传统电商节之外,我们受益最大的就是拼多多‘千亿扶持’这个活动,为我们的品牌带来了很大的知名度,让我们成为了亿元企业。”

图源:广西新闻网

和合味芳一样,从创业之初就借力拼多多的螺满地品牌,也在线上实现了业绩腾飞。

而螺霸王,这个稳坐头部的品牌,更是在去年底,也就是品牌十周年之际,推出了一款无臭版的螺蛳粉,用一次颠覆性的“技术奇袭”,完成了对赛道的重新定义。

图源:网络

在抖音和小红书上,也掀起了一阵试吃潮流,播放量迅速突破数千万。

图源:小红书

与此同时,螺霸王还推出了快煮系列的“锁鲜米粉技术”,使米粉在快速烹煮后仍能保持接近现做的弹滑口感,满足了现代人对效率与地道风味的双重追求。

相比之下,螺状元这两年,在互联网的声量确实是越来越小了,曾经的网红品牌也在时代洪流里,被重重地拍到了沙滩之上。


写在最后

回头看看,螺蛳粉火起来其实离不开精准的线上营销。

媒体大V的大篇幅渲染、疫情的宅家生活,再加上螺蛳粉“臭到极致就是香”的基因,让它妥妥地成为网红符号。

不过,如今的柳州的螺蛳粉产业早已跳出“网红”的范畴,迎来了自己的“长红”叙事。

图源:央视财经

一批批黑马螺蛳粉品牌崛起,迎着电商和直播平台的东风,螺蛳粉早已成为了中国多元化美食大家庭中的一颗闪亮的明星。

这碗粉的故事还在继续,只是曾经站在金字塔尖的那个名字再也回不到巅峰了。

对此,您怎么看?欢迎评论区留言讨论,发表您的意见或者看法,谢谢。



来源:品牌观察官,如有侵权,请联系删除。


鲜花

握手

雷人

路过

鸡蛋
  • 发布新帖

  • QQ客服

  • 微信公众号

  • 移动端

  • 返回顶部