广谈大湾网

广谈大湾网 首页 资讯 国内外资讯 查看内容

全网疯传“外国人把病攒着到中国看”,可信度到底有多高

2026-1-24 08:36| 发布者: 如风

摘要: 一位土耳其游客坐在诊室里,伸出了手。针扎进去的瞬间,他的身体微微绷紧。“就像个小孩子一样。”一旁的陪诊师小岛记得很清楚。那是2025年夏天,一家旅行社联系到小岛,说有位来上海旅游的土耳其游客,想“体验一下 ...

一位土耳其游客坐在诊室里,伸出了手。针扎进去的瞬间,他的身体微微绷紧。


“就像个小孩子一样。”一旁的陪诊师小岛记得很清楚。那是2025年夏天,一家旅行社联系到小岛,说有位来上海旅游的土耳其游客,想“体验一下中医针灸”,问小岛能否陪同。小岛接了单,带这位游客走进了上海中医药大学附属龙华医院。


把脉、问诊、扎针……外国游客的行程单上,多了一项不太寻常的安排——来华就医。


2025年底以来,海外社交媒体“China health care”的话题下,英国女孩飞8000公里到北京治胃病、美国博主在重庆的医院里计算账单,感叹“比停车费还便宜”等视频火了。镜头中,中国医院高效、整洁、流程清晰,挂号、检查、治疗一气呵成。


(Tiktok上“China health care”话题)


“我在中国看病,5分钟送医,2小时治愈。”


“在美国治疗银屑病,每个季度要花掉2.5万美元,在中国每年只要1500美元。”


很快,“外国人打飞的来中国看病”“免签后,欧美中产扎堆来华就医”等讨论在中文互联网世界里也流传开来。有人感慨中国医疗实力的上涨,办事高效、价格亲民的中国医疗,成了海外中产新兴的“隐藏福利”;也有人担心,外国患者的到来会挤占本就紧张的医疗资源。


浙江大学医学院附属第一医院国际保健中心主任袁俏梅在接受《人民日报》的采访时指出,近年来,前来就医的外籍患者数量不断攀升。2024年全年,该院接待了来自60多个国家和地区的外籍患者,增长率达45.6%。


这股热潮究竟是跨国医疗服务的新机遇,还是对国内公共医疗资源的潜在挤压


01

率、性价比之外


短视频博主“Nico爱肉包”(以下简称Nico)没想过,自己会在中国做手术。


他是南非留学生,在中国生活了五六年,常在视频里记录自己的日常。Nico从小就注意到自己身体有些不适,但一直没太在意。直到最近,他走进了医院,医生确诊后,告诉他需要手术治疗。


起初,Nico用翻译软件把症状翻成中文,在抖音和小红书上搜索相关检查、手术经验和医生推荐。很快,他找到了合适的医生。


6月底,他完成了检查。大约一周后,手术就被排上了日程。


(图源:受访者“Nico爱肉包”供图)


7月上旬,Nico接受了人生中第一次全身麻醉。手术前,他紧张万分,担心自己会在麻醉中醒来——“我以前看过一部电影,里面的人不能动,但意识清醒。”医生耐心解释,这种情况极少发生,并详细说明手术方式和切口位置。


手术顺利完成,他在医院住了一晚。第二天下午,Nico出院,诊疗的全部费用在1万到1.5万元人民币之间。


在决定就医前,Nico也查过其他国家的情况。“很多人会去土耳其做手术,价格要贵不少。”在南非或土耳其,同类手术通常至少3万元人民币,相比之下,中国的费用在他的预期之内。


和Nico的感受一样,“效率”和“性价比”是许多外国人来华就医时反复提到的词。


小红书博主Amie来自英国,曾在北京工作。她的胃痛持续了一两年,尽管每个月都要在英国交医疗税,但都预约不到专科医生。


她选择飞回中国看病。问诊结束,医生为她预约了胃镜检查、血液检测、心电图等。令Amie惊讶的是,所有检查都能立即完成。


(图源:小红书博主Amie视频截图)


跨国医疗公司“盛诺一家”上海区渠道负责人谢哲君指出,吸引外籍患者的并非单一因素,而是“效率、价格和近年来整体医疗技术能力提升的组合”


在多数西方国家的医疗体系中,资源被清晰地区分为“急性救命”与“非急性治疗”两类。


涉及车祸、心梗等危及生命的急症,分诊和救治反应迅速,费用也多由公共体系覆盖;但一旦进入慢性病管理或择期手术范畴,如反复发作的胃病、脊柱疼痛、关节置换等,“不立即致命”的疾病便被纳入漫长的等待序列。


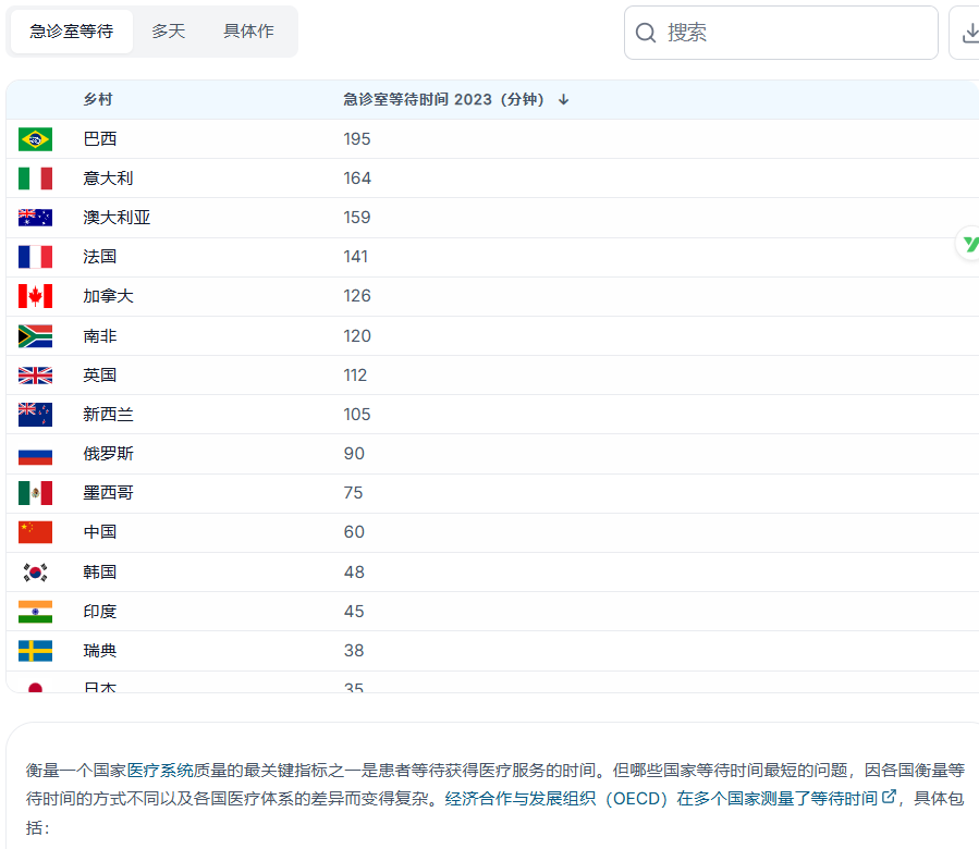
经济合作与发展组织的调研显示,在加拿大和挪威,超过六成的患者需要等待一个月以上才能见到专科医生;即便在美国,这一比例也接近三成。


(图源:worldpopulationreview.com)


在中国,以大型公立医院为中心的医疗结构,提供了另一种路径——门诊开放、流程集中,中间环节更少。


这种差异,并不一定意味着优劣,却构成了许多外籍患者最直观的体验差别,使不少患者选择用跨国就医,换回被等待消耗的时间。


与此同时,持续扩大的入境免签政策,也为这种短期就医提供了现实条件。2025年间,中国持续扩大免签国家范围。同时,原有的72小时、144小时的过境免签政策也被统一延长到了240小时。


这意味着,一位来华旅游或出差的外国人,可以在免签期内,顺路走进一家医院


02 

跨境就医,新风向?


外国人来中国看病,的确正在成为一个新风向。


2025年中旬,“盛诺一家”突然接到越来越多的特别咨询,谢哲君表示,不少来自印尼、土耳其、乌兹别克斯坦、哈萨克斯坦的患者主动问:“我们能来中国看病吗?”


这让公司工作人员有些意外——过去十几年,他们的主要业务都是把中国患者送往海外治疗。如今,方向第一次出现了逆转。



这种变化,陪诊师和医院也感受明显。


2025年七八月,小岛接到土耳其游客之后,接下来的半年里,又陆续陪诊了20多位外国人。有的是在中国工作的外籍人士,也有顺路旅游或出差的欧洲游客,多为解决身体不适或体验中医诊疗。


外籍人士的就医需求,正逐渐向二三线城市扩散。在距离上海不远的无锡,陪诊师小胡也感受到了这种变化。2025 年 12 月中旬,她接到了第一位土耳其客户,后续又陆续陪两位外国患者就诊,收费通常为500元半天,为平时价格的一倍。


医院也察觉到了微妙的变化。温州一家三乙医院的内科医生 Lynn Chen 发现,自2025 年下半年起,开始有外国患者通过社交媒体主动上门就诊。


事实上,跨境医疗并非新现象。


百余年来,它始终有两条清晰的路径,一类是发达国家的中低收入者前往发展中国家,寻求更低的治疗费用;另一类是发展中国家的高收入人群,前往发达国家,追求顶尖的医疗技术。


从陪诊师的实际接触看,来华就医的人群呈现出明显分层。数量最多的是“体验型”患者,多为游客,就医目标或是集中在中医把脉、针灸、推拿等项目,或是水土不服、急性肠胃炎等小病,本质上更接近医疗消费与文化体验的叠加,真正为治疗而专程来华者并不多。


另一类是目的明确的医疗患者,随着肿瘤、血液病等复杂疾病诊疗水平的提升,中国正在成为部分海外患者“可被认真考虑”的选择,这类患者数量不多,但单个病例的医疗消费可高达数十万或上百万元。


至于社交媒体上热议的“欧美中产来华就医潮”,一线从业者们保持着清醒。


Troy是国内医疗行业的资深从业者,也是聚焦外国人赴华就医服务的公司MedTourChina的创始人。在他看来,这条路才刚刚起步,网上爆火的视频,容易给人一种错觉。“你看到的,是一种幸存者偏差,我认为这是被算法放大的个案,不是结构性趋势。”Troy说。


“欧美患者的绝对人数在增加,但占比仍然很低。如果没有既定的来华行程,让一个纯粹的欧美患者专程飞来,成本和心理门槛都很高。”


据多位行业人士观察,目前客源中占比更高的,仍是东南亚和中亚国家的患者——当本地医疗资源有限时,他们过去可能选择新加坡、泰国,而如今,中国也成了一个新选项


03

谁在挤兑?谁在获益?


越来越多外国人来华看病,是否会挤占国内医疗资源?


当“外国人来华看病”成为一个趋势时,这种担忧在中文互联网上冒出。但在更多一线从业者眼中,情况要复杂得多,答案也因地域、医院和个体而异。


1月19日下午3点多,Vista看天下前往北京协和医院国际部。在急诊大厅分诊台前,两位身穿粉色护士服的护士并排坐着,偶有患者上前咨询,大厅里,大约只有20位就诊者,全部是中国面孔。


对此,工作人员解释,这里是国际部,“每天都会有外国患者,但本身数量就不大。”据了解,国际部的收费是普通门诊的3到10倍。早在1998年,我国就规定基本医疗服务对境内外患者统一定价,同时允许提供特需服务,价格遵循市场调节。


近年来,北京、上海、深圳等地陆续开展国际医疗试点,政策要求特需服务量不得超过全院总量的10%,涉外行医场所相对独立。也就是说,国际患者从物理空间到支付体系,都与国内医保患者不在同一条线上。



“外籍患者在总量中不算多,他们支付更高费用,反而为医院创收。”面对外国人就医是否会挤占资源这一问题,谢哲君指出。在现有的制度框架下,多数正规渠道的国际患者,并未与普通民众争夺同一个窗口的号源。


在Lynn Chen工作的医院,外国患者需自费就诊,与依赖医保的本地患者完全分离。“国际患者对我们来说,不是挤占,而是新增的优质资源补充,”她说,“能帮助医院更好地运营。”


她认为,中国医疗资源并非“铁板一块”。顶级三甲医院可能压力更大,但许多地方医院仍有接收外国患者的潜力,从而成为医院激活服务能力、增加营收的“活水”。


因此,真正需要被区分和管理的,或许并不是“外国人是否来华看病”,而是他们通过什么样的路径进入医疗系统


一种是制度本就预留并鼓励的方式,通过国际部等特定通道就诊,以更高价格获得相应服务,形成明确的“价值增量”;另一种,则是绕过这些通道、直接挤入普通门诊,只为获取极端价格差的就医行为。后者的无序,才是“挤占”争议的风险所在。


04

求医背后,两种认知


想象一下,你在异国他乡,身体不适,走进一家医院。语言不通,流程陌生,如何准确描述病情,并跟上每一个步骤?


在有关“外国人来华看病”的故事中,这一切往往显得轻而易举——拿着护照走进医院,几分钟完成挂号,当天看完医生,账单还出奇地低。


可真实的就医过程,远比短视频里展示的复杂。


“像一只无头苍蝇一样。”马来西亚留学生金今这样形容自己第一次走进上海中医药大学附属岳阳医院时的状态。


2023年春天,她从槟城到上海读研,因为身体不适去了医院。医院的大厅崭新,电子化设备很多,她却不知道该做什么:“手续要怎么走?要先办卡,还是直接挂号?”


她站着看了一会儿,最后走向问诊台,学着用护照办卡,再挂号。


“幸好我会说中文,不然会更麻烦”,她指出,对于外国患者而言,“办卡”“挂号”“签到”“缴费”这些词本身就需要翻译。习惯用现金支付的外国人,也可能被第一关卡住。这也是外语陪诊的需求正在显现的原因。



流程可以学习,语言也可以借助翻译工具。但真正的门槛,往往来自更深层的差异——医生与病人之间的关系、治疗决策的逻辑,乃至对“疾病”和“健康”的理解方式


拥有13年涉外护理经验的护士Eileen,曾在中国香港、深圳、新加坡的医院工作。她感受到的核心差异,并不在于设备或技术,而在医患沟通的逻辑。


前阵子,她陪同一位外国患者就诊。CT报告显示肺部有几个微小结节,医生建议3个月后复查。患者却反复追问:“是不是癌症?概率多大?既然有风险,为什么不能现在就做活检?”


医生遵循的是标准的临床路径,结节太小,未达到活检指征,“等待观察”是常规做法。但在患者理解中,“不立刻确诊”意味着风险被悬置。双方的对话虽然在翻译中进行,但对风险的感知与决策的逻辑,却难以在几分钟内对齐。


陪诊师小岛也遇到过类似的情况。


一次,一位美国乐队成员因急性肠胃炎半夜被送到上海急诊,一到医院他就感慨:“在中国随时去医院,即使是大半夜都有急诊。”


医生说要“挂水”,对方立刻紧张起来,甚至问:“我是不是得了什么很严重的病?”在他的认知里,静脉输液意味着病情危重。


小岛不得不反复解释,在中国,“挂水”是常见手段,并不等同于病情危急。对方这才逐渐放松下来。


“来华就医”的另一面,不仅关乎价格或效率,更是一场关于信任、理解与适应的过程


“高质量的国际医疗服务对国家基础医疗具有反哺作用,最终这份红利将惠及更多百姓。”在2025年全国政协会议上,全国政协委员、浙江大学医学院附属第二医院党委书记王建安指出,“开放国际医疗,让海外病人到中国来就医、体检,可带动我们的医疗水平、服务能力进一步提升,还可以促进我国创新药品、创新器械的发展。”


与这一判断相对应的,是一些更具体,也更务实的变化。


截至2025年10月,北京已有15家医院(院区)提供全程英文线上预约服务;上海在2025年,1月发布的《关于推进上海国际医疗创新发展的实施意见》中,也提出完善国际医疗的支付与服务配套,包括多渠道支付和保险支付等措施。


当跨境就医逐渐成为一种趋势,医疗也不再只是单一的社会福利,真正的考验在于,如何在保障普惠底线的同时,容纳不同文化、不同认知的患者。


Nico爱肉包回忆起自己在中国做手术的经历:“遇到健康问题有点可怕,尤其当你看不懂很多东西的时候。但我会鼓励留学生朋友去看医生,真的没那么可怕,也不困难。”


一次手术,让他对生活在中国的体验有了新的理解。而这,或许才是普通人与医疗之间的距离。


来源:vista看天下;如有侵权,请联系删除


鲜花

握手

雷人

路过

鸡蛋
  • 发布新帖

  • QQ客服

  • 微信公众号

  • 移动端

  • 返回顶部